Key Takeaways
- New Tesla patent (US 20260061898 A1) reveals monolithic seat system for next-gen Roadster.
- Single continuous composite frame integrates seat, backrest, headrest, and bolsters via thermoforming.
- Flexible hinge built into frame, using fiber composites or geared linkages, replaces traditional recliners.
- Aligns with Tesla’s manufacturing: fewer parts, reduced weight, simpler assembly like gigacastings.
- Published March 5, 2026, ahead of Elon Musk’s April 1 Roadster reveal; flagged by @seti_park on X.
- Roadster: 2017 unveil, delayed hypercar, ~$200K, 0-60 mph under 2 seconds.
- Multi-actuator system with ECU for 6DOF adjustments (fore/aft, height, tilt, rotation).
- Bolsters guide airbag deployment; frame includes ventilation holes and trim recesses.
- Regionally tuned stiffness zones (R1-R6) for ergonomics without extra components.
In the high-stakes world of electric hypercars, every gram counts, and Tesla is no stranger to pushing boundaries. Just one day ago, on March 5, 2026, the United States Patent and Trademark Office published US 20260061898 A1, titled “Vehicle Seat System,” revealing Tesla’s bold vision for a monolithic composite seat frame. ❶ First spotted by eagle-eyed Tesla patent tracker @seti_park on X, this innovation arrives at a pivotal moment—mere weeks before Elon Musk’s teased April 1, 2026, reveal of the production-spec next-gen Roadster. ❷ ❸
This isn’t just another patent; it’s a manifesto for reimagining vehicle seating through Tesla’s signature philosophy of simplification. By fusing the seat base, backrest, headrest, and bolsters into a single continuous thermoformed composite structure, Tesla ditches dozens of metal brackets, recliners, and rivets for a lightweight, failure-proof design. Perfect for a car promising sub-2-second 0-60 mph sprints and over 250 mph top speeds. ❹
As a blogger who’s tracked Tesla’s manufacturing evolution—from gigacastings to structural battery packs—this seat system feels like the next logical leap. Let’s dive deep into the tech, its implications, and why it could make the Roadster not just the quickest production car, but also one of the smartest.
The Roadster’s Long Road: From 2017 Hype to 2026 Reality
To appreciate this patent, context is key. Unveiled in November 2017 amid SpaceX Roadster drama, the second-gen Tesla Roadster shattered expectations: 1.9 seconds to 60 mph, 620-mile range, 10,000 Nm wheel torque, and a >250 mph top end—all for a starting price around $200,000 (with a $50,000 reservation deposit). ❹
Delays piled up—Cybertruck priorities, supply chain woes, and engineering perfectionism pushed timelines repeatedly. Elon Musk recently confirmed a production-intent reveal on April 1, 2026 (yes, April Fools’ Day, because why not?), with volume production targeted 12-18 months later, likely late 2027. ❷ Over 1,000 reservations linger from the early days, and recent trademark filings signal momentum. ❺
My take: This patent drop is no coincidence. It’s Tesla’s way of building hype, showcasing how the Roadster will embody “unboxed” manufacturing at its finest. Expect prototypes at the reveal with these seats installed.
Breaking Down the Patent: Key Innovations in Monolithic Design
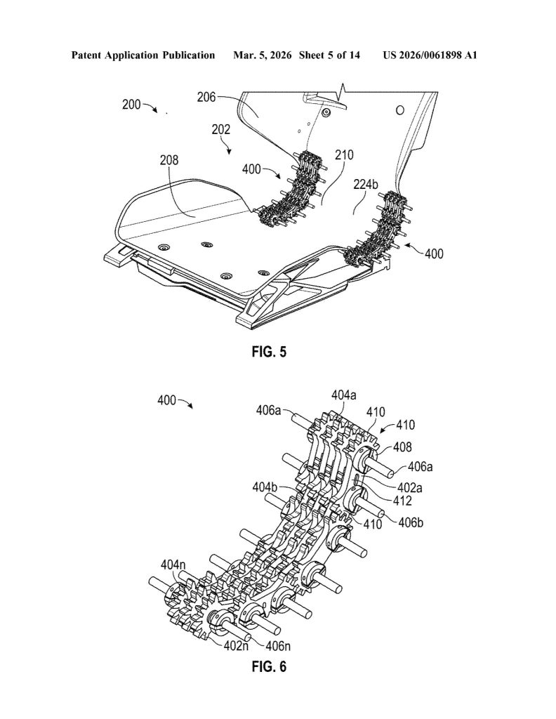
The heart of US 20260061898 A1 is a single continuous composite frame—a “monolithic structure” thermoformed from anisotropic materials like fiberglass-nylon, carbon-nylon, or Kevlar-polymer composites. This isn’t stamped metal; it’s molded as one piece, slashing weight by potentially 20-30% over traditional seats while boosting rigidity. ❶
The Flexible Hinge – Goodbye Mechanical Recliners
- Traditional seats rely on bulky metal recliners prone to wear. Tesla’s integrated flexible hinge uses:
- Fiber composite leaf springs for smooth, silent recline.
- Geared linkage assemblies with interlocking links, rods, and motors for precise control.
- Result: Fewer moving parts, no rattles during 250+ mph runs. ❶
Regional Stiffness Tuning (R1-R6 Zones)
Ergonomics without add-ons:
- R1: Seat cushion – Soft compliance for thigh support.
- R2: Backrest lower – Lumbar firmness.
- R3: Hinge area – Flex without fatigue.
- R4: Upper backrest – Posture alignment.
- R5: Headrest – Impact absorption.
- R6: Bolsters – Lateral grip for cornering.
These zones are engineered during thermoforming—no extra foam or springs needed. ❶
6-DOF Adjustability – Software Meets Hardware
Powered by a multi-actuator system (four pairs) and an ECU (Electronic Control Unit):
- Fore/aft slide
- Height adjustment
- Cushion tilt
- Backrest recline/rotation
- Lateral movement
- Yaw/pitch for dynamic positioning
Controlled via touchscreen or sensors, with feedback loops for auto-corrections. Ideal for track days or long hauls. ❶
Safety and Comfort Features
- Bolster-guided airbags: Asymmetric left/right bolsters direct deployment trajectories for optimal occupant protection. ❶
- Ventilation holes: Integrated backrest perforations for active/passive cooling.
- Trim recesses: Tool-free snap-in for fabrics, foams, or leather.
Insight: In a hypercar, seats must double as roll hoops. This design enhances crash energy paths, potentially earning top safety ratings.
Why This Matters: Aligning with Tesla’s Manufacturing Revolution
Tesla’s playbook—gigacastings, 4680 cells, unboxed assembly—thrives on part reduction. Traditional seats have 50+ components; this boils it down to one frame + actuators. Benefits:
| Aspect | Traditional Seat | Tesla Monolithic |
|---|---|---|
| Part Count | 50+ | <10 |
| Weight | 25-35 kg | ~15-20 kg (est.) |
| Assembly Time | 30-60 min | <5 min |
| Cost | High (labor-intensive) | Low (thermoform) |
| NVH | Prone to squeaks | Silent composite |
Opinion: This scales beyond Roadster. Imagine Cybercab robotaxis with rotating monolithic seats or Model Y with lighter cushions. It’s Tesla exporting gigacasting logic to interiors, cutting Cybertruck-like production ramps from years to months.
For performance junkies: Every kg saved translates to tenths off lap times. Paired with the Roadster’s tri-motor setup, expect Nürburgring dominance.
Challenges and Realistic Expectations
No tech is perfect:
- Composites cost: Upfront tooling is pricey, but volumes drop per-unit to <$500.
- Repairability: Monolithic means whole-seat swaps, but Tesla’s over-the-air ecosystem minimizes downtime.
- Comfort tuning: Stiffness zones must ace diverse body types—Musk prioritizes drivers, but families (4-seater) need versatility.
Advice for reservation holders:
- Secure your spot—the $50k deposit locks priority. ❹
- Watch April 1: Expect seat demos.
- Budget $200k-$250k; Founders Series could hit $250k+.
- Track patents like this for upgrades (e.g., SpaceX-inspired materials?).
The Bigger Picture: Roadster as Tesla’s Tech Showcase
The Roadster isn’t volume-seller; it’s a halo car proving Tesla’s supremacy. This seat patent underscores that: bleeding-edge manufacturing for untouchable performance. As production eyes late 2027, expect synergies with Robotaxi (autonomy-tested seats) and Optimus (ergonomic insights).
Final thought: Tesla’s turning cars into software-defined machines, seats included. If this pans out, the Roadster won’t just break speed records—it’ll redefine what a “seat” means in EVs. Stay tuned; April 1 can’t come soon enough.


