Key Takeaways
- Tesla is addressing sunlight glare problems affecting Full Self-Driving (FSD) with a new patent.
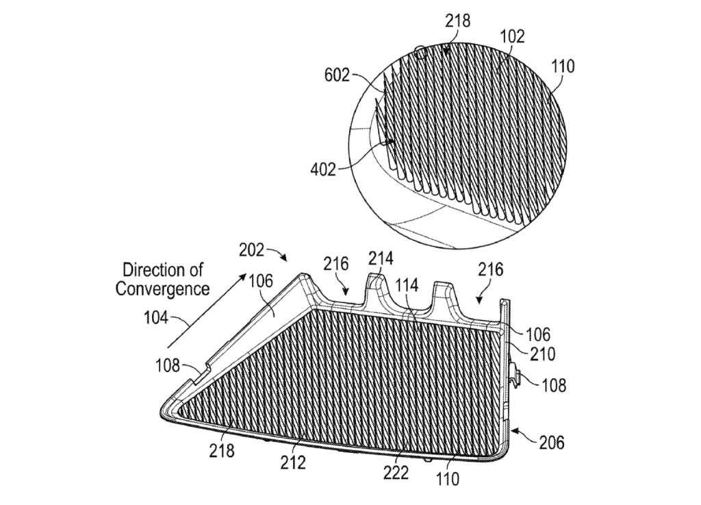
- The patent features a “glare shield” using micro-cones to scatter light and enhance camera visibility.
- It includes an electromechanical system for dynamic adjustment of micro-cones based on external light sources.
- CEO Elon Musk highlighted the use of a direct photon count approach to improve image processing under glare conditions.
- Future hardware iterations, like Hardware 5 and 6, may incorporate additional solutions like neutral density filters.
Navigating the road to a true full self-driving (FSD) future comes with its own set of challenges, and for Tesla, one of those is overcoming the problem of sunlight glare. In this detailed blog post, we delve into how Tesla is combating this issue with a newly published patent, shedding light on innovative solutions that might define the future of autonomous driving.
The Challenge of Sunlight Glare
Sunlight glare is more than just a minor inconvenience; it’s a significant obstacle for both human drivers and autonomous vehicles. While human drivers might use sunglasses or visors, autonomous systems need advanced technological solutions. Tesla’s reliance on camera systems for FSD makes glare a critical issue as it can impair visual data interpretation, which is essential for driving accuracy and safety.
Tesla’s Innovative Glare Shield
Micro-Cones: A New Frontier in Vision
To address the sunlight glare problem, Tesla introduced a “glare shield” in its newly filed patent. This technology uses an array of micro-cones designed to scatter incoming light, thereby reducing glare and enhancing the visibility of the camera systems.
- Dynamic Adjustment: The patent outlines an electromechanical system that allows the micro-cones to adjust dynamically, changing their orientation based on the angle and intensity of external light sources. This flexibility is crucial for adapting to varying lighting conditions encountered during driving.


Elon Musk’s Vision: Photon Counting and Beyond
Direct Photon Count Approach
Tesla is also exploring alternative methods to tackle the sunlight glare issue. One such promising approach mentioned by CEO Elon Musk is the use of a direct photon count. By capturing and processing images at the photon level, Tesla aims to improve the clarity and accuracy of visual data even when facing direct sunlight.
Future Prospects: Hardware Improvements and More
The journey doesn’t stop with just micro-cones and photon counting. Tesla is constantly pushing the envelope with future hardware iterations such as Hardware 5 and Hardware 6. These may include improved solutions like neutral density filters or heated lenses, potentially offering more comprehensive glare reduction techniques.
Why This Matters
The advancements made by Tesla in addressing sunlight glare demonstrate the company’s commitment to perfecting Full Self-Driving technology. With safety and efficiency at the forefront, these innovations not only enhance the capabilities of Tesla vehicles but also push the boundaries of what is possible with autonomous driving.
As Tesla continues to innovate, the introduction of the glare shield patent exemplifies how engineering and cutting-edge technology can converge to solve real-world problems. The company’s proactive approach in researching and implementing new ideas sets the stage for the broader adoption of self-driving vehicles, which could, one day, become an integral part of daily life.
With ongoing advancements and Elon Musk’s visionary strategies, Tesla’s journey toward overcoming FSD challenges is a testament to its pioneering spirit in revolutionizing the automotive industry.